PRINCIPES :
L'activité d'IDROLIK s'appuie sur quelques principes, références et/ou normes qui guident ses choix techniques.


Retour à la page d'accueil


Raccord métrique et étanchéité par joint


Nous souhaitons utiliser des filetages métriques (par opposition aux filetages en pouces anglosaxons) et une étanchéité réalisée par des joints toriques.
La norme ISO 8434 (figures jointes) répond à ces choix techniques avec une interface conique à 24° étanchée par un joint torique.

Pourquoi préférer des filetages métriques ?


Des diamètres en pouces (1 pouce = 25.4 mm) et des nombres de filets par pouce ne sont pas naturels en Europe pour deux raisons :

1)- Définir un pas homogène à une longueur semble logique dans la mesure où il définit la distance parcourue par l'écrou lorsqu'on le visse d'un tour.

2)- Les unités SI (Système International) sont homogènes entre elles.
Par exemple, un effort en N (Newton = unité SI de force) appliqué uniformément sur une surface en mètres carrés (mètre = unité SI de longueur) conduit naturellement à une pression en Pa (Pascal = unité SI de pression = N/m2).
Utiliser autant que possible des unités SI aide donc à simplifier les calculs, en permettant de vérifier plus facilement l'homogénéité des unités.

Pourquoi préférer des raccords coudé orientables ?


Pour deux principales raisons :

1)- Si un flexible hydraulique peut être aisément fléchit, il est très raide en torsion.
Si un raccord coudé est utilisé à une extrémité d'un flexible, la bonne pratique voudrait que l'autre extrémité soit équipée d'un raccord droit afin de ne pas contraindre le flexible en torsion.

2)- L'engagement du premier filet d'un filetage n'est jamais orienté angulairement (à l'exception de quelques applications très spécifiques).
Lorsqu'on engage une vis dans un taraudage, ou un écrou sur un filetage, il faut chercher la position angulaire qui permet l'engagement du filet de la vis dans celui du taraudage.
Donc si on visse un raccord coudé simple dans un taraudage de pompe hydraulique, on ne sait pas à quelle orientation le serrage va se terminer.

Pourquoi préférer une étanchéité par joint ?


Parce qu'à partir du moment où le joint est correctement positionné au contact des surfaces (pièce mâle / pièce femelle), alors la liaison est étanche, que le raccord soit faiblement serré ou très fortement serré.
Ceci est un élément de robustesse vis-à-vis d'un éventuel desserrage du raccord.


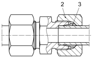
Exemple de liaison rigide - flexible :


Le passage d'un conduit rigide à un flexible peut être réalisé comme décrit par l'image ci-contre. Sur le tube rigide (1) est enfilé un écrou (2) puis une bague déformable (3).
C'est le serrage de l'écrou (2) sur le filetage du raccord (4) qui applique par déformation plastique de la bague (3) son sertissage étanche sur le tube, en plantant littéralement des griffes circulaire dans le tube métallique.
Ce sertissage de la bague (3) sur le tube métallique est similaire à celui de la jupe sur le flexible.

Le sertissage de la pièce (3) sur le tube (1) assure :

1)- l'étanchéité entre la pièce (3) et le tube (1)

2)- la tenue mécanique de la pièce (3) sur le tube (1)

3)- l'imperdabilité de l'écrou (2) qui devient prisonnier du tube.

Lorsque le raccord (4) est monté, la jupe (5) coiffe l'extérieur du flexible (6) et le raccord (4) est enfilé dans l'intérieur du flexible.
Le sertissage de la jupe sur le flexible solidarise l'ensemble (jupe représentée non sertie sur le flexible).


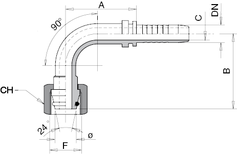
Exemple de raccord coudé :


Le raccord coudé femelle (2) représenté ci-contre reprend le principe de la jupe (3) sertie sur le flexible (4).

On note que les équipements hydrauliques présentent habituellement leurs interfaces hydrauliques sous la forme de taraudages (BSP ...).
La pièce (1) est un raccord mâle, le filetage métrique pourrait tout ausi bien être celui d'un adaptateur mâle - mâle vissé dans un équipement (pompe, moteur, vanne ...).


Haut de page